Support de main courante OK-LINE fixe, avec plaque
Support de main courante OK-LINE fixe, avec plaque de fixation
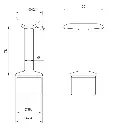
Équipé d'une plaque de montage fixe, pour tube de ø42.4mm. Support de main courante OK-LINE, en capuchon fixe, tige de ø12x78mm et plaque à visser, conçue pour tube ø42.4x2mm, en acier inoxydable V2A, finition grain 320.

