Se rendre au contenu

JUDAS DE PORTES RESISTANT AU FEU

https://www.clecarouge.ch/web/image/product.template/65067/image_1920?unique=a993bd3

Fourniture d'un juda de portes coupe-feu OK-LINE avec optique en verre résistant au feu
résistance à la chaleur 30 minutes
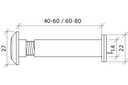
ø rosace intérieur 22 mm
ø rosace extérieur 27 mm
avec plaque de recouvrement
Champ visuel 200 °

- résistance à la chaleur 60 minutes livrables d'usine sur demande
- anti-balles sont livrable d'usine.

CHF 51.00 51.0 CHF CHF 51.00

Not Available For Sale

  • Marques
  • Surface/Couleur
  • épaisseur porte

Cette combinaison n'existe pas.

Marques: OKLine

Conditions générales
Garantie satisfait ou remboursé de 30 jours
Expédition : 2-3 jours ouvrables